Hydraulické prvky
Pojistné ventily
POJISTNÉ VENTILY jsou využívány pro regulaci (řízení) tlaku v hydraulickém systému (směrem za redukčním ventilem). Tyto ventily můžeme také označit jako přetlakové / regulační. Chrání systém proti tlakovému přetížení. Ventily lze vřadit mezi potrubí, či taktéž modulově a to přímo pod elektricky ovládaný rozvaděč NG04 (CETOP 02), NG06 (CETOP 03), NG10 (CETOP 05). V nabídce máme přetlakové ventily od více dodavatelů např. BUCHER, ARON, BREVINI, OLEODINAMICA, ARGO-HYTOS.
VMP Bucher

| Typ pojišťovacího ventilu | VMP 10 | VMP 20 | VMP 30 | |
|---|---|---|---|---|
| Maximální tlak | bar | 320 | 250 | 350 |
| Maximální průtok | l/min. | 40 | 80 | 100 |
| Pracovní kapalina | Minerální olejedle DIN 51524 | |||
| Viskozita | mm2/s | 10 ¸ 500 | ||
| Teplota kapaliny | °C | ´- 25 ¸ 75 | ||
| Teplota okolí | °C | ´- 25 ¸ 60 | ||
| Čistota oleje | třída 10 dle NAS1638 | |||
| A | mm | 70 | 99,5 | 92 |
| B1 | mm | max. 69 | max. 91 | max. 66 |
| B2 | mm | max. 58,5 | max. 77,5 | max. 57 |
| B3 | mm | max 93 | max. 110,5 | max. 90 |
| C | mm | 60 | 81 | 81 |
| D | mm | 35 | 45 | 45 |
| E | mm | 50 | 50 | 50 |
| P | G3/8" | G1/2" | G3/4" | |
| T | G3/8" | G1/2" | G3/4" | |
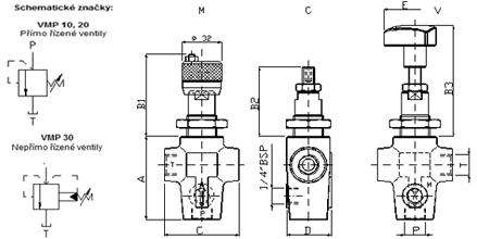
Pojišťovací ventily typu VMP umožňují spolehlivé nastavení maximálního pracovního tlaku v hydraulickém okruhu. Pro svou robustní kontrukci jsou oblíbeným prvkem v mobilních aplikacích , ale rovněž nalézají,díky přesnosti a spolehlivosti svá uplatnění i v hydraulice stacionární. Pro citlivé nastavení požadované hodnoty tlaku je celkový tlakový rozsah ventilů rozdělen do tří pásem. Těmto pásmům jsou přiřazeny kalibrované pružiny různých tuhostí. Mechanický doraz pak brání úplnému stlačení pružiny a tím překročení maximálního tlaku odpovídajícího dané pružině. Ventily velikostí VMP10 a VMP20 jsou přímořízené, ventil VMP30 je řízený nepřímo. Vlastní ventil (cartridge) je unifikovaným dílem který lze použít-objednat samostatně pod označením CPM10,20,30.
Příklad objednání pojišťovacího ventilu: VMP 10 YZ 002
Y: Provedení regulačního prvku pojišťovacího ventilu:
M – plastové kolečko, C – vnitřní šestihran, V – trojúhelníkový ovladač
Z: Rozsahy nastavení pojišťovacího ventilu:
Pro VMP10: 1 – max. 50 bar, 2 – max. 150 bar, 3 – max. 320 bar
Pro VMP20: 1 – max. 30 bar, 2 – max. 140 bar, 3 – max. 250 bar
Pro VMP30: 1 – max. 50 bar, 2 – max. 140 bar, 3 – max. 350 bar